自动化仪表知识百科:自动化仪器仪表基础知识,技术方案
更新时间:2023年01月13日
20世纪70年代初由美国***先投放市场的电容变送器,是一种开环检测仪表,具有结构简单、过载能力强、可靠性好、测量精度高、体积小、重量轻、使用方便等一系列优点,目前已成为***受欢迎的压力、差压变送器。其输出信号也是标准的4~20mA (DC) 电流信号。
电容式压力变送器是先将压力的变化转换为电容量的变化,然后进行测量的。
在工业生产过程中,差压变送器的应用数量多于压力变送器,因此,以下按绍兴中仪的差压变送器介绍,其实两者的原理和结构基本上相同。
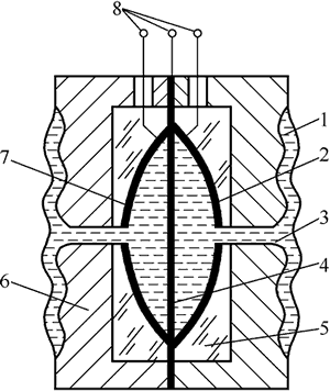
下图电容式差压变送器的原理图,将左右对称的不锈钢底座的外侧加工成环状波纹沟槽,并焊上波纹隔离膜片。基座内侧有玻璃层,基座和玻璃层中央有孔道相通。玻璃层内表面磨成凹球面,球面上镀有金属膜,此金属膜层有导线通往外部,构成电容的左右固定极板。在两个固定极板之间是弹性材料制成的测量膜片,作为电容的中央动极板。在测量膜片两侧的空腔中充满硅油。
图:电容式压力变送器工作原理

1一隔离膜片;2,7一固定电极;3一硅油;4一测量膜片;5一玻璃层;6一底座;8一引线
当被测压力p、P分别加于左右两侧的隔离膜片时,通过硅油将差压传递到测量膜片上,使其向压力小的一侧弯曲变形,引起中央动极板与两边固定电极间的距离发生变化,因而两电极的电容量不再相等,而是一个增大、另一个减小,电容的变化量通过引线传至测量电路,通过测量电路的检测和放大,输出一个4 ~ 20mA的直流电信号。
电容式差压变送器的结构可以有效地保护测量膜片,当差压过大并超过允许测量范围时,测量膜片将平滑地贴靠在玻璃凹球面上,因此不易损坏,过载后的恢复特性很好,这样大大提高了过载承受能力。与力矩平衡式相比,电容式没有杠杆传动机构,因而尺寸紧凑,密封性与抗震性好,测量精度相应提高,可达0.2级。